Messtaster T201 / T202 - Übersicht
Halbbrücke, ±1 mm Messhub
| Typ / Beschreibung | Zeichnung |
|---|---|
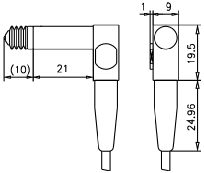
|
T201F / T202F
» Technische Daten |
![]() ![]() |
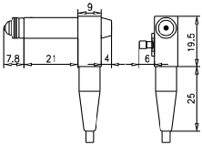
|
T202V
» Technische Daten |
![]() |
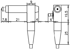
|
T202P
» Technische Daten |
![]() |
|
T202L
» Technische Daten |
![]() |




